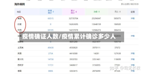
• 疫情确证人数/疫情累计确诊多少人

    支付宝怎么查询全国现有确诊人数在支付宝中查询全国现有确诊人数,可按以下步骤操作:打开支付宝并进入【市民中心】打开支付宝应用,在首页找到并点击【市民中心】功能入口。注:若首页未直接显示【市民中心】,可通过顶部搜索栏输入关键词快速定位。进入【...

    2026/03/16

返回顶部